-
-
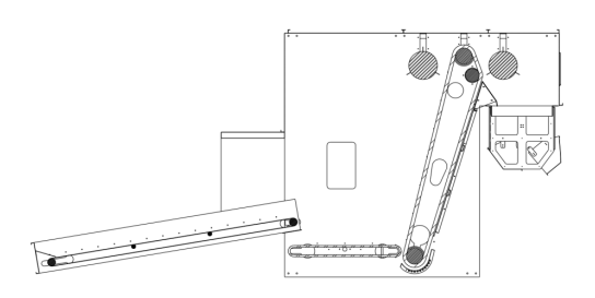
仿絲棉設備|開包機
- 型號CYLKB
- 品牌昌源隆
開鬆各種等級捆包纖維經電子秤進行稱量,使不同纖維配比準確,均勻平鋪在混棉簾上,供給開鬆機使用。
開包機:
✤用途特點:開鬆各種捆包纖維,按比例由電子秤進行稱量,均勻平鋪在混棉簾上。
(上圖為結構示意圖,不完全與實際設備相同)
✤工作原理:開鬆各種等級捆包纖維,定量喂入,使不同纖維配比準確,混合均勻,供下一道工序使用。
✤用途特點:開鬆各種捆包纖維,按比例由電子秤進行稱量,均勻平鋪在混棉簾上。
✤技術參數:
型號 | CYLKB-1200 | CYLKB-1300 | CYLKB-1400 | CYLKB-1600 |
寬幅 | 1200mm | 1300mm | 1400mm | 1600mm |
產量 | 250kg/h | 300kg/h | 350kg/h | 500kg/h |
功率 | 3.75kw | |||
✤機構特點:
(1)機架由優質鋼板焊接而成,結構穩固。
(2)使用新式電子稱重結構,省人工。
✤安全防護:
(1)所有傳動部位均有保護罩保護。
(2)電器部分設有過載保護、過電流保護、短路保護、緊急停車按鈕。
(3)必要部位設有警告標記。
